快科技7月28日消息,近日笔吧评测室对搭载Intel酷睿Ultra 5 225H与AMD锐龙AI 7 350的同款笔记本进行了对比测试,结果显示二者性能旗鼓相当,但在散热方面酷睿Ultra 5 225H更具优势。 笔吧此次选择的是联想小新P...
快科技7月28日消息,鸿蒙智行“第五界”尚界汽车官方透露了其首款车型尚界H5增程版的续航实力。 尚界H5增程版的CLTC综合续航里程超过1300公里,纯电CLTC续航里程为230公里。 官方表示,该车具备可油可电的...
快科技7月28日消息,今天上午,魅族科技正式开启预热魅族22,该机将挑战1.2mm全球最窄物理四等边。 魅族科技表示,时间来到了7月的最后一周,对不起太难了,盛夏错过7月,奔赴最美的22岁之约,我们迟到了。 因为没有人会不喜欢纯白色的东西,...
快科技7月28日消息,佛门本是清修地,然而现实中某些寺庙的状况却让人“始料未及”。 7月27日晚间,少林寺管理处发布通报称:少林寺住持释永信涉嫌刑事犯罪,挪用侵占项目资金寺院资产;严重违反佛教戒律,长期与多名女性保持...
快科技7月28日消息,近日,华硕连续第五年公布其游戏笔记本的完整功耗规格信息,这也是唯一一家提供单一图表显示电源规格的公司。 对于笔记本电脑来说,显卡的TGP(总图形功耗)一直是影响性能的重要因素,此前有厂商对显卡功耗的标注模糊不清,导致消...
天猫狮王口腔护理旗舰店,LION狮王2支齿力佳+3支White&White小苏打牙膏(共1.2斤)日常大促价74.9元,今日仅需24.7元即可入手。 点击下方卡片 → 领 35 元券 → 下滑到宝贝详情页 &ra...
快科技7月28日消息,据媒体报道,近日,宇树科技创始人王兴兴出席了2025年世界人工智能大会。 现场,王兴兴被问及“在宇树展台大秀跳舞和拳击后,网上质疑宇树科技在这方面开发没意义。” 对此,他回复表示:“...
快科技7月28日消息,昔日的英特尔中国区总裁退休后转投AMD,这引来了网友的围观。 根据Linked in上的消息显示,2021年从英特尔退休的前中国区总裁杨旭(Ian Yang)在2024年底已经加入了AMD,担任AMD副总裁兼联想全球客...
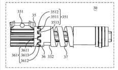
快科技7月28日消息,根据天眼查数据显示,2025年3月14日,OPPO广东移动通信有限公司公布了一项名为“扭力组件、折叠装置及电子设备”的专利,申请公布号为CN119616991A。 该专利涉及可弯折结构技术领域,...
快科技7月28日消息,今日REDMI官宣旗下第二代平板产品REDMI Pad 2,平板搭载11英寸2.5K屏幕,并采用同级别罕见的柔光屏幕。 据悉,柔光屏相较于标准屏,能够显著减少反光和眩光,有效减轻眼睛疲劳,同时具备抗指纹、清洁方便等优点...